|
TL(LT)型弹性套柱销联轴器 特点及应用场合:具有补偿两轴线相对偏移和减振、缓冲性能,结构简单,制造容易,不需润滑,维修方便,径向尺寸较大,适用于安装底座刚性好,对中精度较高,冲击载荷不大,对减振要求不高的轴系传动,是我国早通用标准联轴器。不适用于高-速和低速重载工况条件。
TL(LT)型--基本型;
TLL(LTZ)型--带制动轮型;
![]()
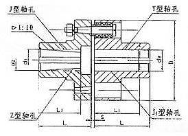
TL(LT)型弹性套柱销联轴器参数及主要尺寸:(GB/T4323-84<2002>) mm
![]() |

|
TL(LT)型弹性套柱销联轴器 特点及应用场合:具有补偿两轴线相对偏移和减振、缓冲性能,结构简单,制造容易,不需润滑,维修方便,径向尺寸较大,适用于安装底座刚性好,对中精度较高,冲击载荷不大,对减振要求不高的轴系传动,是我国早通用标准联轴器。不适用于高-速和低速重载工况条件。
TL(LT)型--基本型;
TLL(LTZ)型--带制动轮型;
![]()
TL(LT)型弹性套柱销联轴器参数及主要尺寸:(GB/T4323-84<2002>) mm
![]() |